ある喫茶店で燃焼対決?

20120911231403193529
新規オープンの喫茶店に当工房の薪ストーブが導入されるらしい?
以前に導入を検討していただいていた建築家からの依頼です。
当事者の一人であるのにらしいとは他人ごと思われるでしょうが、正直、詳細な打ち合わせもしていないので驚きました。

本日、大工さんが突然訪問してきて煙突はどのように施工しますかと質問される。?。平面図を見せていただき建築家に電話。取り付けることに決まっていたようだ。決まったなら精一杯の薪ストーブをご提供しょう。

「この図面2つ煙突がありますけど」(私)と大工さんに質問。「もう一台ペレットストーブを付けるんです」(大工さん)もちろん私のところはペレットストーブは製作していないので他社の製品です。

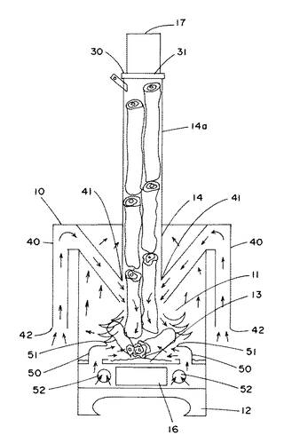
そのペレットストーブは有名なストーブです。写真にあるような構造だと思います。販売台数も多いらしい。いきなりチャンピオン級の薪ストーブとガチ対決となるのです。
顧客満足では負けたくないな。がんばろう。

コメントを残す

メールアドレスが公開されることはありません。 が付いている欄は必須項目です

CAPTCHA